Как технически осуществить подключение и просмотр IP камер?
-
GenaSPB
- Модератор
- Сообщения: 11292
- Зарегистрирован: 20 апр 2010, 11:33
- Откуда: Санкт-Петербург
- Контактная информация:
Re: Как технически осуществить подключение и просмотр IP кам
Если у каждого наблюдателя будет свой рег, то на нем и настроить только те камеры которые ему можно. Хотя все это на какой-то бред похоже. А так у хиквижн делал юзеру доступ только к определенным камерам.
Re: Как технически осуществить подключение и просмотр IP кам
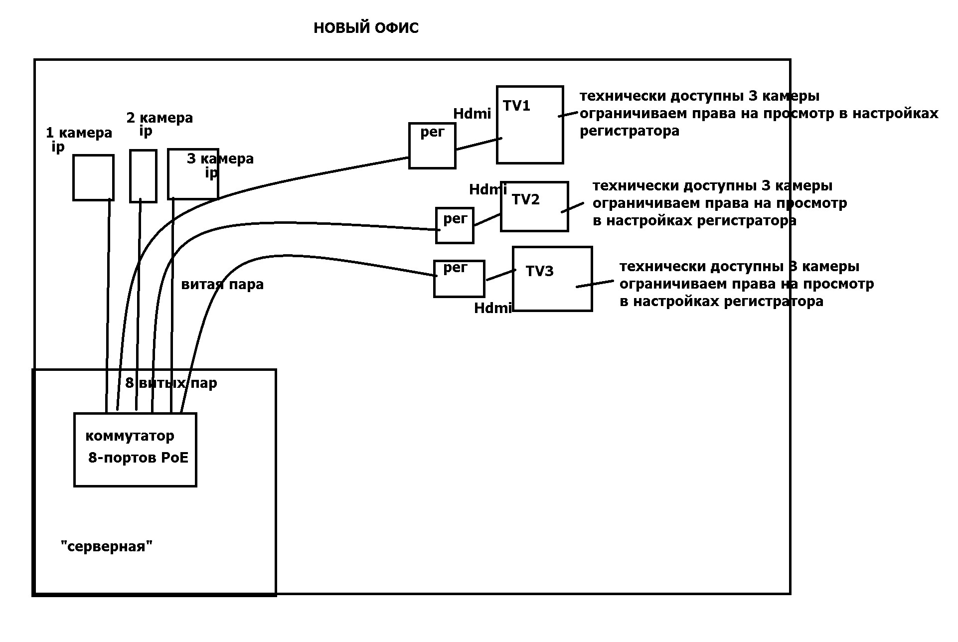
Прочитал все Ваши ответы. Показалось,что схему я изобразил не очень понятно. Попытаюсь несколько добавить и заодно спросить.
1)Как соединить камеры склада и офиса - вопрос второстепенный(услышал Ваши мнения - wifi, оптика, провайдер). Но сейчас нужно начать работы по установке камер в офисе. Поэтому больше заботит как будут соединены между собой камеры в офисе!
2) Современные телевизоры - это каприз директора. Поэтому приходиться выдумывать.
3)В моей схеме я рассчитывал, что к каждому видеорегистратору(у директора, у секретаря, у менеджера) подходит один единственный провод витая пара от коммутатора. Соответственно все три камеры могут быть физически просмотрены на каждом из видеорегистраторов. Однако в настройках видеорегистраторов сделать ограничение прав на просмотр определенных камер(админу доступны все камеры для просмотра, а определенным профилям - только определенные). Также можно?
4)Могут ли по моей схеме подключения одновременно и директор и секретарь каждый со своего телевизора смотреть одну и ту же камеру или нет? ( например камера №1). В онлайне и архиве.
5) Жесткие диски поставим на каждый из видеорегистраторов.
Попытался более четче нарисовать схему подключения устройств.
1)Как соединить камеры склада и офиса - вопрос второстепенный(услышал Ваши мнения - wifi, оптика, провайдер). Но сейчас нужно начать работы по установке камер в офисе. Поэтому больше заботит как будут соединены между собой камеры в офисе!
2) Современные телевизоры - это каприз директора. Поэтому приходиться выдумывать.
3)В моей схеме я рассчитывал, что к каждому видеорегистратору(у директора, у секретаря, у менеджера) подходит один единственный провод витая пара от коммутатора. Соответственно все три камеры могут быть физически просмотрены на каждом из видеорегистраторов. Однако в настройках видеорегистраторов сделать ограничение прав на просмотр определенных камер(админу доступны все камеры для просмотра, а определенным профилям - только определенные). Также можно?
4)Могут ли по моей схеме подключения одновременно и директор и секретарь каждый со своего телевизора смотреть одну и ту же камеру или нет? ( например камера №1). В онлайне и архиве.
5) Жесткие диски поставим на каждый из видеорегистраторов.
Попытался более четче нарисовать схему подключения устройств.
- kROOT
- Специалист
- Сообщения: 13861
- Зарегистрирован: 02 сен 2013, 14:25
- Откуда: youcam.pro
- Контактная информация:
Re: Как технически осуществить подключение и просмотр IP кам
После загрузки регистратора ХМ с портом 34567 до ввода пароля все показывается от прав пользователя default. Вот этому пользователю можно настроить права просмотра определенных камер, ну и после ввода пароля тоже можно определить, какие камеры показывать онлайн и архив. Как на регах других производителей, надо смотреть, но скорее всего будет тоже самое.
Только вот по поводу "Современные телевизоры" и VGA не понял, там ведь HDMI должен быть, он более качественно показывает.
Только вот по поводу "Современные телевизоры" и VGA не понял, там ведь HDMI должен быть, он более качественно показывает.
Re: Как технически осуществить подключение и просмотр IP кам
Формально регистратор NVR предназначен для записи изображений с IP-камер, а функция их отображения для него вторична. Так что с точки зрения красоты имеет смысл ставить один регистратор в серверной для записи и несколько компьютеров у пользователей для отображения.
Реально многие регистраторы NVR способны одновременно отображать В ЧЕТВЕРО меньше камер, чем они могут записывать, так уж они устроены ...
Реально многие регистраторы NVR способны одновременно отображать В ЧЕТВЕРО меньше камер, чем они могут записывать, так уж они устроены ...
Re: Как технически осуществить подключение и просмотр IP кам
Легко, пишет 1 регистратор основной, ан другие регистраторы добавляются не камеры, а основной регистратор. А выводишь только нужные камеры, проостальные просто забываешь. На основном регистраторе делаешь аккаунты для каждого участника и указываешь, что ему можно смотреть,а что нет. Вот и всеDobryi писал(а):Просто не понятно как это все будет управляться ? И т.е. директор захотел просмотреть архив или онлайн видео с камеры которая не подключена к его регу? Можно сделать проще на аналоге
Re: Как технически осуществить подключение и просмотр IP кам
Да без проблем. я же написал, делаем Wifi мост между складом и офисом. Правильно настраиваем антенны и наслаждаемся.Dobryi писал(а):Ну вообще обычно сотрудник к директору ходит, ну да ладно, я не понимаю как он запись с камер с другого склада увидеть , он же 2км
Но для идеального решения нужно понимать географию. Может там вообще оптику кинуть можно, благо она сегодня от 4р за метр. 2км кинуть обварить - дело малое.
Re: Как технически осуществить подключение и просмотр IP кам
Не дешевле, да и нормальные IP камеры как показала практика ппц как тормозят на моноблоках. Если говорить про тот же acer. Это просто слайдшоу и не шевельнуть мышкой и это всего-то при 4 камерах.ALEX_SE писал(а):моноблоки вместо телеков и регов не дешевле будет? можно даже извратиться и поставить сенсорные.
Re: Как технически осуществить подключение и просмотр IP кам
Скажите, видеорегистраторов всего купить понадобится 3 шт?ITShef писал(а):Легко, пишет 1 регистратор основной, ан другие регистраторы добавляются не камеры, а основной регистратор. А выводишь только нужные камеры, проостальные просто забываешь. На основном регистраторе делаешь аккаунты для каждого участника и указываешь, что ему можно смотреть,а что нет. Вот и всеDobryi писал(а):Просто не понятно как это все будет управляться ? И т.е. директор захотел просмотреть архив или онлайн видео с камеры которая не подключена к его регу? Можно сделать проще на аналоге
Где будет основной? Они же все три видеорегистратора выходят из одного коммутатора и получается будут равнозначные.
Или как это лучше сделать?
Нарисуйте,пожалуйста, тогда свою схему! На схеме понятнее.
Re: Как технически осуществить подключение и просмотр IP кам
Схема тут как раз не меняется никак. все остается прежним. Регламентируется только настройкамиigor81 писал(а):ITShef писал(а): Скажите, видеорегистраторов всего купить понадобится 3 шт?
Ну у вас 3 точки мониторинга - можно сделать 3 регистратора, можно 4 и этот 4 сделать основным как раз. Это не важно, все зависит от полета души и фантазий и кошелька. Но минимум по числу телевизоров придется брать.
Можно определить к примеру директорский. Он же директор, вот и будет основным.Где будет основной?
Не, выходя из одного коммутатора это указывает на то, что они физически находятся в одной сети. Главность или второстепенность определяется лишь настройками. На регистратор директора добавьте все камеры и пропишите всех пользователей, на остальные - добавляйте директорский регистратор как многоканальное устройство. В качестве логина и пароля используйте те, которые вы пропишите на директорском. Это если делать единственный пункт управления.Они же все три видеорегистратора выходят из одного коммутатора и получается будут равнозначные. Или как это лучше сделать?
Нарисуйте,пожалуйста, тогда свою схему! На схеме понятнее.
ЗЫ: Главный момент, регистратор должен поддерживтаь возможность добавления других регистраторов как IP устройств. Дахуа, Хики ранее умели, многие китайцы - не умеют.
Re: Как технически осуществить подключение и просмотр IP кам
ITShef, теперь Вас понял!
Скажите ещё такой момент, жесткий диск по Вашему варианту следует брать только на основной видеорегистратор-директора? Или брать жесткие диски на каждый рег?
Напомню, каждый из сотрудников должен смотреть помимо онлайн просмотра ещё и записи с камер!
Видеорегистраторы и IP-камеры будем брать фирмы - polyvision. ( поскольку такие же установлены на удаленном складе). Они поддерживают возможность добавления других регов как IP устройств? Не в курсе?
И вообще, принципиально ли будет покупка IP-камер и видеорегов, например другого производителя?(отличного от тех, которые стоят на удаленном складе).Сможем ли мы их потом соединить удаленно склад с офисом? Кстати, скорее всего как и рекомендовали здесь на форуме будет связь с удаленным складом по wifi.
Скажите ещё такой момент, жесткий диск по Вашему варианту следует брать только на основной видеорегистратор-директора? Или брать жесткие диски на каждый рег?
Напомню, каждый из сотрудников должен смотреть помимо онлайн просмотра ещё и записи с камер!
Видеорегистраторы и IP-камеры будем брать фирмы - polyvision. ( поскольку такие же установлены на удаленном складе). Они поддерживают возможность добавления других регов как IP устройств? Не в курсе?
И вообще, принципиально ли будет покупка IP-камер и видеорегов, например другого производителя?(отличного от тех, которые стоят на удаленном складе).Сможем ли мы их потом соединить удаленно склад с офисом? Кстати, скорее всего как и рекомендовали здесь на форуме будет связь с удаленным складом по wifi.
-
GenaSPB
- Модератор
- Сообщения: 11292
- Зарегистрирован: 20 апр 2010, 11:33
- Откуда: Санкт-Петербург
- Контактная информация:
Re: Как технически осуществить подключение и просмотр IP кам
Поливижн это сборная солянка из разного железа в основном ХМ. Они поддерживают. Но не подкалитесь с выбором.igor81 писал(а):Видеорегистраторы и IP-камеры будем брать фирмы - polyvision.
Да.igor81 писал(а):брать жесткие диски на каждый рег?
Re: Как технически осуществить подключение и просмотр IP кам
Подскажите ещё такой момент. Сегодня определили невозможность обеспечения связи между складом и офисом по wifi из-за препятствий(многоэтажки мешают). Решили обратиться к провайдеру для организации канала связи.
Вопрос касается настройки между собой видеорегистраторов с камерами со склада и видеорегистраторами и камерами в новом офисе. Фирмы, модель регов со склада и новых в офисе абсолютно одинаковые. Каков порядок настройки их для совместного использования?
Вопрос касается настройки между собой видеорегистраторов с камерами со склада и видеорегистраторами и камерами в новом офисе. Фирмы, модель регов со склада и новых в офисе абсолютно одинаковые. Каков порядок настройки их для совместного использования?