Можно ли проапгрейдить купольную PTZ ?
Re: Можно ли проапгрейдить купольную PTZ ?
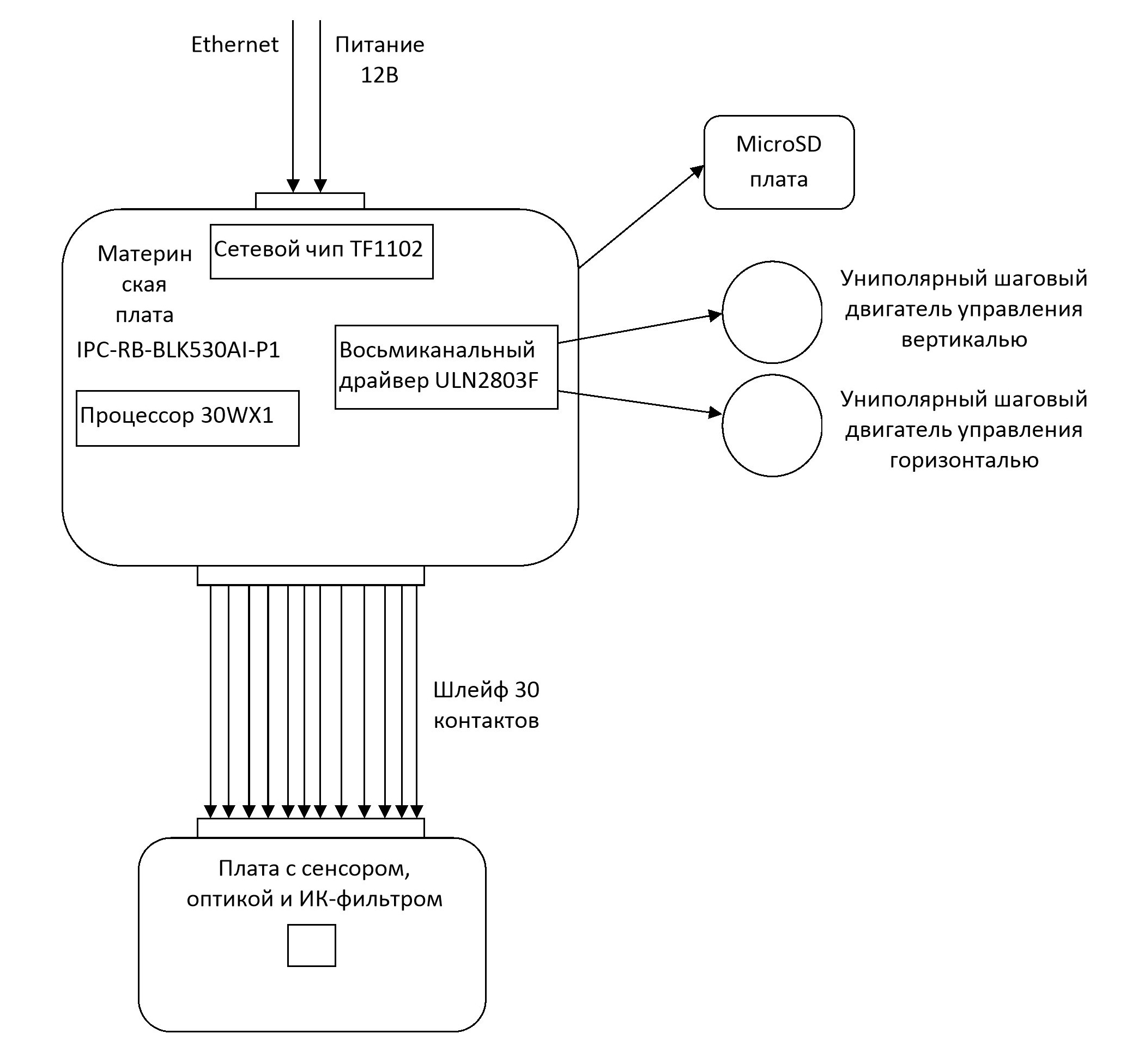
Мои опасения оправдались. Из Mainboard идёт 30-контактный шлейф на плату с сенсором. По шлейфу идут лишь сигналы с сенсора, на ИК-фильтр и фотодатчик освещённости.
Re: Можно ли проапгрейдить купольную PTZ ?
В общем всё печально получается. Для управления униполярными шаговыми двигателями Pan-Tilt используется восьмиканальный драйвер ULN2803F, распаянный на материнской плате вместе с процессором. Каким образом они общаются - одному богу известно...
Но факт в том, что для того, чтобы управлять шаговыми двигателями с более продвинутого по оптической части модуля - у него должен быть либо восьмиканальный драйвер на борту с прошивкой PTZ, либо лепить какой-то конвертер на ардуино, который будет конвертировать PELCO по RS485 на внешний драйвер... Но при этом, опять же, на модуле должны быть прошивкой заложены выводы PELCO сигналов на RS485.
Но факт в том, что для того, чтобы управлять шаговыми двигателями с более продвинутого по оптической части модуля - у него должен быть либо восьмиканальный драйвер на борту с прошивкой PTZ, либо лепить какой-то конвертер на ардуино, который будет конвертировать PELCO по RS485 на внешний драйвер... Но при этом, опять же, на модуле должны быть прошивкой заложены выводы PELCO сигналов на RS485.
Re: Можно ли проапгрейдить купольную PTZ ?
Пришла и моя камера для разборок.
Разобрано, управляется по RS485 поворот и вверх/вниз с полностью вынутом модуле на ИМХ 307. Есть косяк, без коаксиального подсоединения управляется по RS485 недолго, в том смысле, вначале как включаешь повороты четкие, потом прерывистые, потом тишина, подсоединяешь коаксиал к регу, все поворачивается как по коаксиальному так и по RS485 четко и без косяков (модуль вынут).
Пока, как то так.
p.s. разобрал (отсоединил модуль от объектива), убедился что стоит реальный ИМХ 307 зеленый, это те которые без драг металлов. Есть для сравнения модули ИМХ 307 не зеленые с драг металлами, ранее видел описание что они по качеству одинаковые, врут, зеленые дрянь по отношению к не зеленым, у зеленых картинка зерно да и рядом не стоят они по качеству с драг металльными ИМХ, ни днем ни ночью. Разочарован в зеленых ИМХ 307.
Re: Можно ли проапгрейдить купольную PTZ ?
Legos
Так у вас же вроде бы AHD PTZ камера? Там всё попроще
А вот как в IP-камере управлять PTZ - большой вопрос... Нужен драйвер, который понимает Pelco по RS485...
Так у вас же вроде бы AHD PTZ камера? Там всё попроще
А вот как в IP-камере управлять PTZ - большой вопрос... Нужен драйвер, который понимает Pelco по RS485...
Re: Можно ли проапгрейдить купольную PTZ ?
Вообщем обкурил я купольную и так и этак, оставил ее в покое, запихнул имх291 https://aliexpress.ru/item/32987189084. ... b7b3d1b728в старый корпус от камеры под варифокальный объектив(см.фото), поставил пока на крышу, наслаждаюсь приближением поля, картинка днем и до сумерек- огоннь, жду поворотку https://aliexpress.ru/item/32513597142. ... b201603_53.
Re: Можно ли проапгрейдить купольную PTZ ?
Был у меня такой модуль (точнее до сих пор есть). Сгорел из-за перегрева. В нём крайне горячий чип 3516D. А вот ночью от imx291 в нём толку мало. Так как объектив там устаревший от аналоговой камеры. И не светосильный ни разу. Все прелести Imx291 можно получить только вкупе со светосильным объектиовм. А они все фиксы...
А вот это мысль. В таком поворотном кронштейне расположены моторы и драйвер управления ими со входом RS485. Когда получите кронштейн - разберите пожалуйста. Интересно посмотреть там движки биполярные или однополярные. Вполне возможно такой кронштейн можно использовать как донор для куполки. Подсоединить к моторам куполки драйвер от этого кронштейна, а драйвер к любому модулю по RS485.Legos писал(а): ↑22 дек 2019, 18:47жду поворотку https://aliexpress.ru/item/32513597142. ... b201603_53.
Re: Можно ли проапгрейдить купольную PTZ ?
На чип уже радиатор приклеил, все что купил, все облепил радиаторами).
Поворотку разберу, сфоткаю, выложу.
p.s. ИМХ291Х30 куплена для дневного света, присмотра за животными пасущимися на поле ).
Re: Можно ли проапгрейдить купольную PTZ ?
Дождался наконец-то ) поворотку.
Разобрал, два движка, на движки идет по четыре провода от платки (фото), в сам отсек с двигателями не полез, там фиксатор на пластмассе, не стал лишний раз рисковать на тему сломать.
Поставил камеру что выше на фотках на кронштейн, на платку в кронштейн запихнул селикогель, сам кронштейн на удивление довольно солидный- массивный, думал хрень какая либо будет хрупкая. Самая выгодная цена на кронштейн у юмики- https://aliexpress.ru/item/32513597142. ... 33edhGhKtk
Уже поставил на крышу, крутится по 485 порту пультом, удобно, пока все ОК.
P.S. у самой камеры есть возможность прямо к ней подсоединить данный кронштейн, мне так не удобно, так к сведению.
Разобрал, два движка, на движки идет по четыре провода от платки (фото), в сам отсек с двигателями не полез, там фиксатор на пластмассе, не стал лишний раз рисковать на тему сломать.
Поставил камеру что выше на фотках на кронштейн, на платку в кронштейн запихнул селикогель, сам кронштейн на удивление довольно солидный- массивный, думал хрень какая либо будет хрупкая. Самая выгодная цена на кронштейн у юмики- https://aliexpress.ru/item/32513597142. ... 33edhGhKtk
Уже поставил на крышу, крутится по 485 порту пультом, удобно, пока все ОК.
P.S. у самой камеры есть возможность прямо к ней подсоединить данный кронштейн, мне так не удобно, так к сведению.
Re: Можно ли проапгрейдить купольную PTZ ?
Legos
Спасибо большое за фотоотчёт.
Я так понял, что в этом кронштейне биполярные шаговые двигатели, а в куполке униполярные шаговые двигатели. А значит совместить их проблематично
Если только выковыривать двигатели из кронштейна и колхозить их в куполку...
Спасибо большое за фотоотчёт.
Я так понял, что в этом кронштейне биполярные шаговые двигатели, а в куполке униполярные шаговые двигатели. А значит совместить их проблематично
Re: Можно ли проапгрейдить купольную PTZ ?
Слабый фотоотчет ), побоялся фиксатор снимать, на нем вся голова держится (фото фиксатора).
А как определили, униполярные в куполке потому что к ним идет 5 а не 4 проводов ?
Re: Можно ли проапгрейдить купольную PTZ ?
Откуда такая информация про драгметаллы?Legos писал(а): ↑11 дек 2019, 10:08p.s. разобрал (отсоединил модуль от объектива), убедился что стоит реальный ИМХ 307 зеленый, это те которые без драг металлов. Есть для сравнения модули ИМХ 307 не зеленые с драг металлами, ранее видел описание что они по качеству одинаковые, врут, зеленые дрянь по отношению к не зеленым, у зеленых картинка зерно да и рядом не стоят они по качеству с драг металльными ИМХ, ни днем ни ночью. Разочарован в зеленых ИМХ 307.
IMX307 бывает в двух корпусах LGA и BGA. Зелёный это маска на текстолите, коричневый это керамический корпус. Кристалл одинаковый, делает его только Sony, а разваривать в корпуса могут и китайцы. Золото там если и есть, то проволочка от кристалла до корпуса на качество никак не влияет.
Встречал у китайцев вроде SC307, впаривают как камеры на 307й матрице. Может тут собака порылась.